【评测】PQS | 台北CN2原生 | TP-CN2-VDS-XL-200Mbps
💻基本信息
PQS雲端服務(Virtual Dedicated Server)
https://www.pqs.pw 无AFF
月缴:PQS-PASSEWAY-MON
季缴:PQS-PASSEWAY-SEA
半年:PQS-PASSEWAY-HAF
一年:PQS-PASSEWAY-YEA
核心:1 vCPU
內存:512MB
硬盤:10GB Nvme
*默認開機AMD EPYC高效能CPU及Nvme高IO硬碟
(如遇AMD EPYC資源不足之情況會以Intel主機開機)
IP數:一個台灣原生固定IPv4
*可提交工單申請一個靜態IPv6
流量:無限流量(合理使用)
寬帶:可用鋒值100Mbps
架構:KVM
位置:台北內湖IDC機房
*電信/聯通去程CN2、移動CMI
*回程大陸優化直連
*預設流量1T,後台自助重置
*帶操作面板、VNC、可自己重裝系統
*靜態IP、數據庫、台區解鎖、落地
*動漫瘋、NF奈飛、LINE TV、台區愛奇藝
Basic System Information:
---------------------------------
Uptime : 0 days, 2 hours, 16 minutes
Processor : AMD EPYC 7642 48-Core Processor
CPU cores : 4 @ 2299.998 MHz
AES-NI : ✔ Enabled
VM-x/AMD-V : ✔ Enabled
RAM : 3.8 GiB
Swap : 4.0 GiB
Disk : 26.3 GiB
Distro : Debian GNU/Linux 12 (bookworm)
Kernel : 5.4.0-105-generic
VM Type : KVM
IPv4/IPv6 : ✔ Online / ❌ Offline
IPv4 Network Information:
---------------------------------
ISP : Pittqiao Network Information Co., Ltd.
ASN : AS131642 Pittqiao Network Information Co.,Ltd.
Host : Pittqiao Network Information Co., Ltd.
Location : New Taipei City, Taipei ()
Country : Taiwan
fio Disk Speed Tests (Mixed R/W 50/50) (Partition -):
---------------------------------
Block Size | 4k (IOPS) | 64k (IOPS)
------ | --- ---- | ---- ----
Read | 97.02 MB/s (24.2k) | 10.32 MB/s (161)
Write | 97.28 MB/s (24.3k) | 10.80 MB/s (168)
Total | 194.31 MB/s (48.5k) | 21.12 MB/s (329)
| |
Block Size | 512k (IOPS) | 1m (IOPS)
------ | --- ---- | ---- ----
Read | 62.98 MB/s (123) | 426.20 MB/s (416)
Write | 66.33 MB/s (129) | 454.58 MB/s (443)
Total | 129.32 MB/s (252) | 880.78 MB/s (859)
Geekbench 5 Benchmark Test:
---------------------------------
Test | Value
|
Single Core | 925
Multi Core | 3274
Full Test | https://browser.geekbench.com/v5/cpu/23742137
SysBench CPU 测试 (Fast Mode, 1-Pass @ 5sec)
---------------------------------
1 线程测试(单核)得分: 1583 Scores
4 线程测试(多核)得分: 6334 Scores
SysBench 内存测试 (Fast Mode, 1-Pass @ 5sec)
---------------------------------
单线程读测试: 40134.11 MB/s
单线程写测试: 18695.14 MB/s
🎬IP质量

🌐网络质量

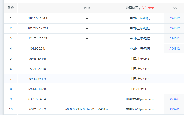
📍去程路由

📍回程路由

评论
发表评论